La tecnología láser de Tesla que pone fin a los limpiaparabrisas tradicionales
Innovación
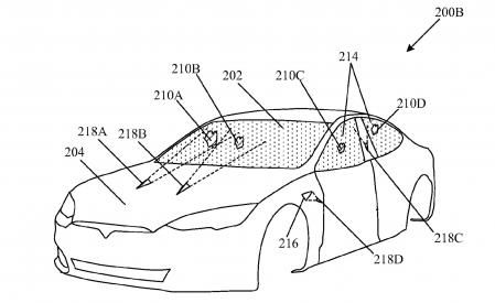
La empresa de Elon Musk ha registrado esta tecnología en la Oficina de Patentes de los Estados Unidos

Escobillas del limpiaparabrisas

Los avances tecnológicos van condenando a la desaparición a algunos componentes del automóvil. Por ejemplo, con la incorporación de los elevalunas eléctricos como equipamiento de serie en la inmensa mayoría de coches nuevos ya no se ven casi ejemplares con las manivelas manuales que antaño servían para subir y bajar la ventanilla. Los antiguos radiocassettes extraíbles han dado paso a sofisticados dispositivos multimedia y de infoentrenenimiento. Y los espejos retrovisores empiezan a ser sustituidos por innovadores sistemas de cámaras en algunos modelos, como el Audi etron o el Honda e. Así es probable que dentro de unos años este elemento haya pasado a la historia, algo que también podría acabar sucediendo con los limpiaparabrisas. Tesla ha patentado un sistema que permite limpiar superficies de cristal con rayos láser.
Esta tecnología también se podría utilizar para limpiar las ópticas de las cámaras que equipan los coches dotados de ayudas a la conducción (ADAS), así como para los paneles solares que los eléctricos podrían montar en el futuro.
Tesla ya había desarrollado un sistema basado en un mecanismo electromagnético
No es la primera vez que la compañía de Elon Musk registra en la Oficina de Patentes de Estados Unidos una innovación relacionada con los limpiaparabrisas. Antes ya había desarrollado un sistema basado en un mecanismo electromagnético. Según explican fuentes de Carglass, el brazo del limpia se desliza transversalmente a lo largo de todo el parabrisas por unos carriles magnéticos y se esconde bajo el capó cuando no está en funcionamiento.

Tanto el sistema láser como el electromagnético ofrecen una gran ventaja: al cubrir toda la superficie del cristal -el movimiento de las escobillas actuales siempre deja una parte sin barrer- permite la reubicación de las cámaras de los sistemas ADAS mucho más arriba, especialmente en los vehículos con parabrisas que se prolongan hacia el techo panorámico. Con ello se gana perspectiva y se mejora la seguridad en marcha.
Buena parte de las cámaras que transmiten información a las ayudas de conducción están montadas en el parabrisas, siempre en una ubicación similar: en la parte superior central, a la altura del espejo retrovisor interior. Este punto ofrece una visión elevada y garantiza una correcta visibilidad, pues está dentro de la zona de barrido de los limpiaparabrisas.
Cuando existe algún problema en el parabrisas que obliga a reemplazarlo, los especialistas del taller deberán desmontar las cámaras y sensores ADAS del cristal roto y montarlos en el nuevo. Una vez instalados, estos sistemas deberán ser recalibrados para asegurar que funcionan con la máxima precisión y mandan la información correcta a los sistemas de seguridad.

Según un estudio de la fundación para la seguridad vial Fesvial, siete de cada diez conductores desconocen las funciones básicas de seguridad del parabrisas. Casi el 60% de los encuestados no saben que este cristal afecta al funcionamiento del airbag, pues al desplegarse se apoya sobre él ejerciendo una enorme presión.
El parabrisas no solo aporta hasta el 30% de la resistencia de la estructura del vehículo y es clave para evitar el hundimiento del techo en caso de vuelco, sino que también ofrece protección térmica y acústica. Además, en algunos vehículos, es el lugar de proyección de la información del Head up display.

